
Crankshaft suitable for all Piaggio moped models (Ciao, Si, Bravo, Boxer, Grillo).
This finely balanced crankshaft fits all cylinders with 12 mm piston pins and impresses with its high-quality workmanship.
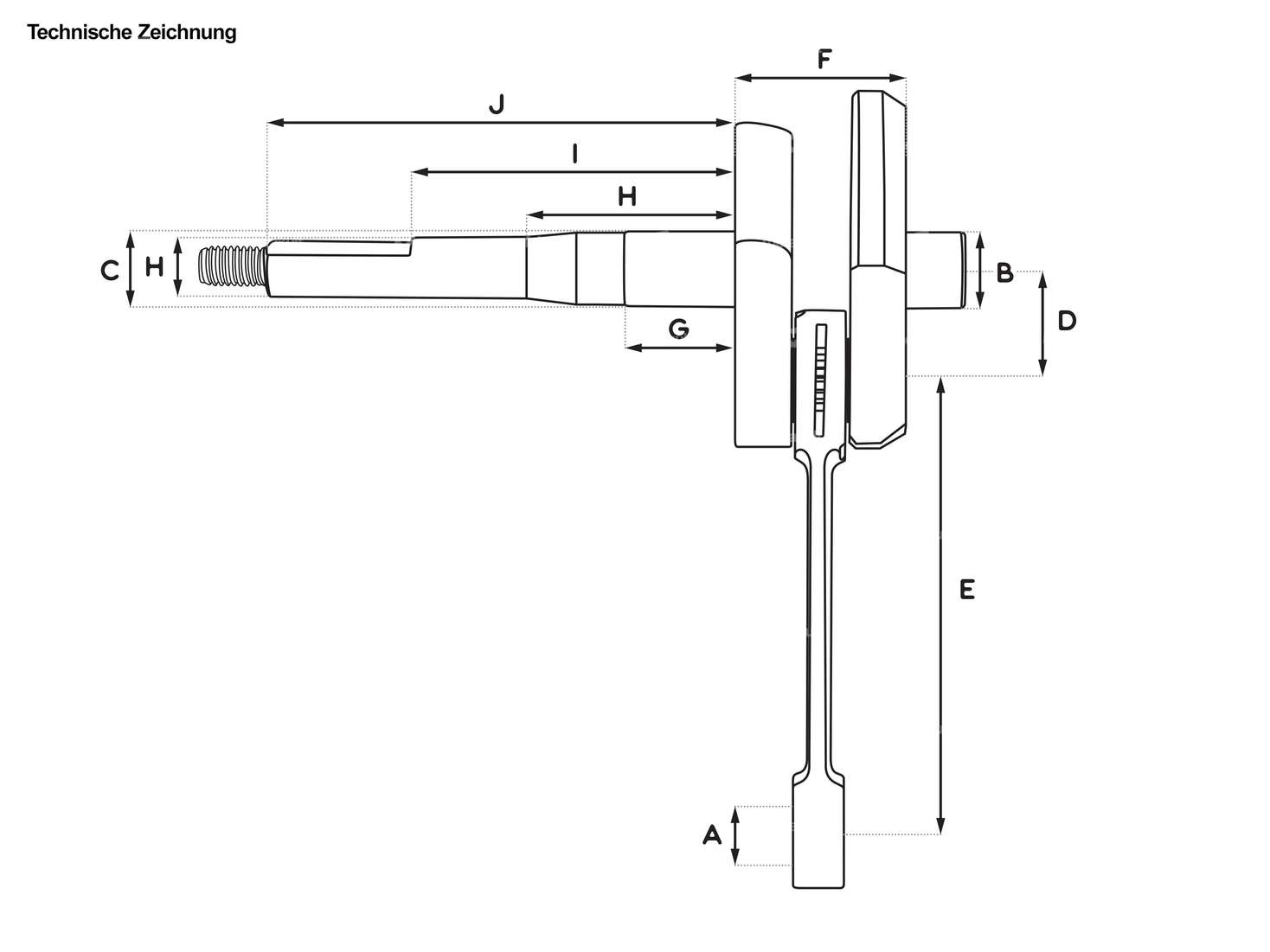
Connecting rod eye (A): 15.0 mm
Ø Bearing seat right (B): 15.0 mm
Ø Bearing seat end (C): 15.0 mm
Stroke (2xD): 43.0 mm
Sleeve length (E): 87.0 mm
Width of crank webs (F): 33.0 mm
1st shoulder (G): 21.0 mm
2nd shoulder (H): 44.0 mm
3rd shoulder (I): 63.5 mm
Total length crankpin end (J): 90.0 mm
Ø Vario / clutch pin (H): 12.0 mm
Dimension needle bearing: Ø 12 / 15 x 14.7 mm (axe 12)
Thread: M8 x 1.25 mm
Note: For assembly, a 16 x 0.5 mm shim must be inserted between the standard crankshaft and its main bearings.
When assembling, check that the pole wheel sits properly on the cone. Depending on the batch of crankshaft or pole wheel used, the key may need to be adjusted slightly.
| Weight | 698 g |
| Manufacturer | Mazzucchelli |
| Material | Steel |
| Cheek type | standard |
| Crankshaft stroke | 43 mm |
| Ø coupling pin / vario pin | 12 mm |
| Connecting rod length center-center | 87 mm |
| Number of gears | 1 pcs |
| Total length crankpin ignition side | 90 mm, 106 mm |
| Ø crank webs | 69.7 mm |
| Ø Connecting rod eye | 15 mm |
| Bearing seat right | 15 mm |
| Ø piston pin (B) | 12 mm |
| Ø Bearing seat (ignition side) | 15 mm |
| Thread type | M8x1.25 (standard thread) |
| Area of application | Standard, Original |
| Thread length | 16 mm |
| Dimension needle bearing | 12 / 15 x 14.7 mm (axe 12) |
| Wide crank webs | 33 mm |
| Length 1st paragraph | 21 mm |
| Length 2nd paragraph | 44 mm |
| Length 3rd paragraph | 63.5 mm |
| Ø 1st step (on the coupling side) | 15 mm |
| Ø 2nd shoulder (on the clutch side) | 14.4 mm |
| Ø 3rd step (on the clutch side) | 12 mm |
| Inlet control time | 130 ° |
| Control time before O.T | 77 ° |
| Control time according to O.T | 53 ° |
| Piaggio | Ciao - P , SC , PX , C24 Si Bravo / Super Bravo Boxer Grillo |
Accessories & related products
swiing® ingenious needle roller bearing 12/15/16.2 "Racing" silver cage
Bearing cage: Silver cage · Ø inside: 12 mm · Ø outside: 15 mm · Manufacturer: swiing® ingenious parts · Bearing type: Needle roller and cage assembly · Width: 16.2 mm · Dimension needle bearing: 12/15 x 16.2 · Tomos OEM number: 035548
EUR 17.10
swiing® ingenious puller flywheel | Piaggio Ciao, SI, Bravo, Boxer
Width across flats trigger: 10 mm · Width across flats trigger: 17 mm · Total length: 100 mm · Manufacturer: swiing® ingenious parts · Material: Steel · Surface: blackened · Surface: galvanized (blue) · Number of components: 3 pcs · Diameter: 12 mm · Diameter: 24 mm · Width across flats Screw: 19 mm · Area of application: (Dis)assembly tool · Thread type: MF12x1.5 (fine pitch thread) · Thread type: MF17x1 (fine pitch thread)
EUR 22.00
swiing® ingenious 6202 Bearing dummy 15/35/11 Aluminum
Ø inside: 15 mm · Ø outside: 35 mm · Manufacturer: swiing® ingenious parts · Material: Aluminum · Surface: anodized · Stock number: 6202 · Bearing type: Deep groove ball bearing · Width: 12 mm · Area of application: Special tool · Area of application: Workshop accessories
EUR 12.20
Explore categories from Engine block
Moped fans also bought
EFFE Condenser with cable | Piaggio Ciao, SI, Bravo, Boxer
Ø outside: 18 mm · Manufacturer: EFFE · Capacity: 0.26 µF · Mounting type: Tab for screwing · Connection type: Cable for screwing · Height: 26 mm · Area of application: Original · Area of application: Standard · Ø mounting hole: 4.4 mm · Total height: 31 mm · Piaggio OEM number: 102939
EUR 14.70
SKF 6202 C3 ball bearing 15/35/11
Bearing cage: Sheet steel cage ball-guided · Ø inside: 15 mm · Ø outside: 35 mm · Inner ring width: 11 mm · Manufacturer: SKF · Bearing clearance: C3 · Stock number: 6202 · Bearing type: Deep groove ball bearing · Width: 11 mm · Puch OEM number: 900.4.6202
EUR 12.20






